|
您現在的位置 首頁 產品展示 |
|
|
|
|
|
| 產品展示 >> 巨輪興(SUN RUN)千斤頂 |
|
 |
 |
|

RAC鋁合金液壓油缸、液壓單動鋁合金千斤頂:
- 鋁合金設計,質量輕易攜帶。
- 7075-T6鋁合金材質,能以小質量成大能力。
- 墊塊及缸底墊塊預防荷重的危險。
- 主軸及缸壁內外防損耐磨且延長使用壽命。
- 強力彈簧加速主軸回縮速度。
- 特殊軟質環設計,防止主軸偏心荷載;避免磨耗刮傷油缸。
- 多層油封設計,預防金屬材質間互相摩擦,防止側向荷載受損。
- 上螺帽保護主軸超揚程。
- 各種型號均含有SQB-3/8UF快速接頭及防護蓋。
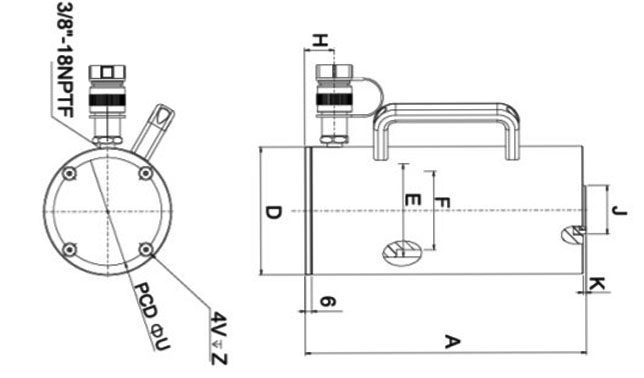
RAC鋁合金液壓油缸、液壓單動鋁合金千斤頂尺寸:
.jpg)
RAC鋁合金液壓油缸、液壓單動鋁合金千斤頂技術參數:
型號 |
能力(ton kN) |
揚程(mm) |
受壓面積(cm平方) |
總油量(cm立方) |
本身高A(mm) |
伸長總高B(mm) |
外徑D(mm) |
內徑E(mm) |
主軸直徑F(mm) |
底部前進油控位置H(mm) |
墊塊直徑J(mm) |
凸出高度K(mm) |
重量(kg) |
RAC-202 |
20(218)
|
50 |
31.2 |
156 |
174 |
224 |
85 |
63 |
50 |
27 |
40 |
3 |
3.6 |
RAC-204 |
100 |
31.2 |
312 |
224 |
324 |
85 |
63 |
50 |
27 |
40 |
3 |
4.1 |
RAC-206 |
150 |
31.2 |
468 |
274 |
424 |
85 |
63 |
50 |
27 |
40 |
3 |
4.6 |
RAC-302 |
30(309)
|
50 |
44.2 |
221 |
181 |
231 |
100 |
75 |
60 |
33 |
40 |
3 |
4.5 |
RAC-304 |
100 |
44.2 |
442 |
231 |
331 |
100 |
75 |
60 |
33 |
40 |
3 |
5.2 |
RAC-306 |
150 |
44.2 |
663 |
281 |
431 |
100 |
75 |
60 |
33 |
40 |
3 |
5.9 |
RAC-502 |
50(496) |
50 |
70.9 |
354 |
186 |
236 |
130 |
95 |
80 |
30 |
50 |
3 |
8.5 |
RAC-504 |
|
100 |
70.9 |
709 |
236 |
336 |
130 |
95 |
80 |
30 |
50 |
3 |
9.8 |
RAC-506 |
|
150 |
70.9 |
1063 |
286 |
436 |
130 |
95 |
80 |
30 |
50 |
3 |
11.1 |
RAC-1004 |
100(1002) |
100 |
143.1 |
1431 |
271 |
371 |
188 |
135 |
110 |
46 |
94 |
3 |
19.6 |
RAC-1006 |
|
150 |
143.1 |
2147 |
321 |
471 |
188 |
135 |
110 |
46 |
94 |
3 |
21.9 |
RAC-1008 |
|
200 |
143.1 |
2863 |
371 |
571 |
188 |
135 |
110 |
46 |
94 |
3 |
24.2 |
RAC-1506 |
150(1589) |
150 |
227.0 |
2405 |
343 |
493 |
230 |
170 |
140 |
51 |
113 |
3 |
33.3 |
保質承諾
巨輪興(SUN RUN)RAC鋁合金液壓油缸屬于原裝進口產品,凡客戶從我公司定購此品牌產品如收到貨物時發現有假貨仿貨均以100倍金額賠償。
|
|
|
|
點擊數:【2730】 錄入時間:【2013-12-20】 【打印此頁】 【點擊返回】 |
|
|
|
|
|